²úÆ·¼ò½é£ºJD-WQX5BÐÍÎåÒªËØÎ¢ÆøÏóÒÇÁ¢ÒìÐԵؽ«¸ºÑõÀë×Ó¡¢¿ÕÆøÎ¶ȡ¢Êª¶È¡¢PM2.5¡¢PM10µÈÆøÏóÒªËØÍ¨¹ýÒ»¸ö¸ß¼¯³É¶È½á¹¹À´ÊµÏÖ£¬¿ÉʵÏÖ»§ÍâÆøÏó²ÎÊý24СʱһÁ¬ÔÚÏß¼à²â
Ò»¡¢²úÆ·¼ò½é
88858ccÓÀÀû¹ÙÍø×÷ΪרҵÑб¬·¢²úÏúÊÛ΢ÐÍÆøÏóÒÇµÄÆóÒµ£¬Ò»Ö±ÖÂÁ¦ÓÚ΢ÐÍÆøÏóÒÇºÍÆøÏóÇéÐνâ¾ö¼Æ»®ÍƹãÓ¦Ó᣾ßÓÐÍêÕûµÄÉú²úÁ´¡¢ÊµÁ¦ÐÛºñµÄÊÖÒÕÍŶӺÍÖÜÈ«µÄÓªÏúÍŶӣ¬ÎÒÃÇÑб¬·¢²úµÄÎåÒªËØÎ¢ÆøÏóÒÇ¡¢ÁùÒªËØÎ¢ÆøÏóÒǺÍСÐÍ×Ô¶¯ÆøÏóÕ¾µÈÆøÏó²úÆ·£¬ÒÑÆÕ±éÓ¦Óõ½ÆøÏó¼à²â¡¢¶¼»áÇéÐμà²â¡¢·çÁ¦·¢µç¡¢º½º£´¬²°¡¢º½¿Õ»ú³¡¡¢ÇÅÁºËíµÀµÈÁìÓò£¬¿Í»§±é²¼Ììϸ÷µØ£¬²¢È¡µÃÁËÓÅÒìµÄÉç»áÐ§ÒæºÍ¾¼ÃÐ§Òæ¡£
JD-WQX5BÐÍÎåÒªËØÎ¢ÆøÏóÒÇÁ¢ÒìÐԵؽ«¸ºÑõÀë×Ó¡¢¿ÕÆøÎ¶ȡ¢Êª¶È¡¢PM2.5¡¢PM10µÈÆøÏóÒªËØÍ¨¹ýÒ»¸ö¸ß¼¯³É¶È½á¹¹À´ÊµÏÖ£¬¿ÉʵÏÖ»§ÍâÆøÏó²ÎÊý24СʱһÁ¬ÔÚÏß¼à²â£¬Í¨¹ýÊý×ÖÁ¿Í¨Ñ¶½Ó¿Ú½«ÎåÏî²ÎÊýÒ»´ÎÐÔÊä³ö¸øÓû§¡£
¶þ¡¢²úÆ·ÌØµã
1¡¢¿¹×ÌÈÅÄÜÁ¦Ç¿£¬¾ßÓп´ÃŹ·µç·,×Ô¶¯¸´Î»¹¦Ð§,°ü¹ÜϵͳÎȹÌÔËÐÐ
2¡¢¸ß¼¯³É¶È£¬ÎÞÒÆ¶¯²¿¼þ£¬ÁãÄ¥Ëð
3¡¢Ãâά»¤£¬ÎÞÐèÏÖ³¡Ð£×¼
4¡¢½ÓÄÉASA¹¤³ÌËÜÁÏÊÒÍâÓ¦ÓÃÖÕÄêÎȹÌÉ«
5¡¢²úÆ·Éè¼ÆÊä³öÐźűêÅäΪRS485ͨѶ½Ó¿Ú£¨MODBUSÐÒ飩£»¿ÉÑ¡Åä232¡¢USB¡¢ÒÔÌ«Íø½Ó¿Ú£¬Ö§³ÖÊý¾Ýʵʱ¶ÁÈ¡¡î
6¡¢¿ÉÑ¡ÅäÎÞÏß´«ÊäÄ£¿é£¬×îС´«Êä¾àÀë1·ÖÖÓ
7¡¢Ì½Í·Îª¿¨¿ÛʽÉè¼Æ£¬½â¾öÁËÔËÊä¡¢×°ÖÃÀú³ÌËɶ¯½û¾øµÄÎÊÌâ¡î
Èý¡¢ÊÖÒÕ²ÎÊý
1¡¢¿ÕÆøÎ¶ȣºÕÉÁ¿ÔÀí¶þ¼«¹Ü½áµçѹ·¨£¬-40-80¡æ£¨¡À0.3¡æ£©Çø·ÖÂÊ0.01¡æ£»
2¡¢¿ÕÆøÊª¶È£ºÕÉÁ¿ÔÀíµçÈÝʽ£¬0-100%RH£¨¡À3%RH£©Çø·ÖÂÊ0.1%RH£»
3¡¢PM2.5£ºÕÉÁ¿ÔÀí¹âÉ¢É䣬0-1000ug/m3£¨¡À10%£©Çø·ÖÂÊ1ug/m3
4¡¢PM10£ºÕÉÁ¿ÔÀí¹âÉ¢É䣬0-1000ug/m3£¨¡À10%£©Çø·ÖÂÊ1ug/m3
5¡¢¸ºÑõÀë×Ó£ºÕÉÁ¿ÔÀíԲͲʽµç¼«ÎüÈëʽ£¬0-10Íò¸ö/m3£¨¡À10%£©Çø·ÖÂÊ1¸ö/m3
6¡¢¹¦ÂÊ:2.3W
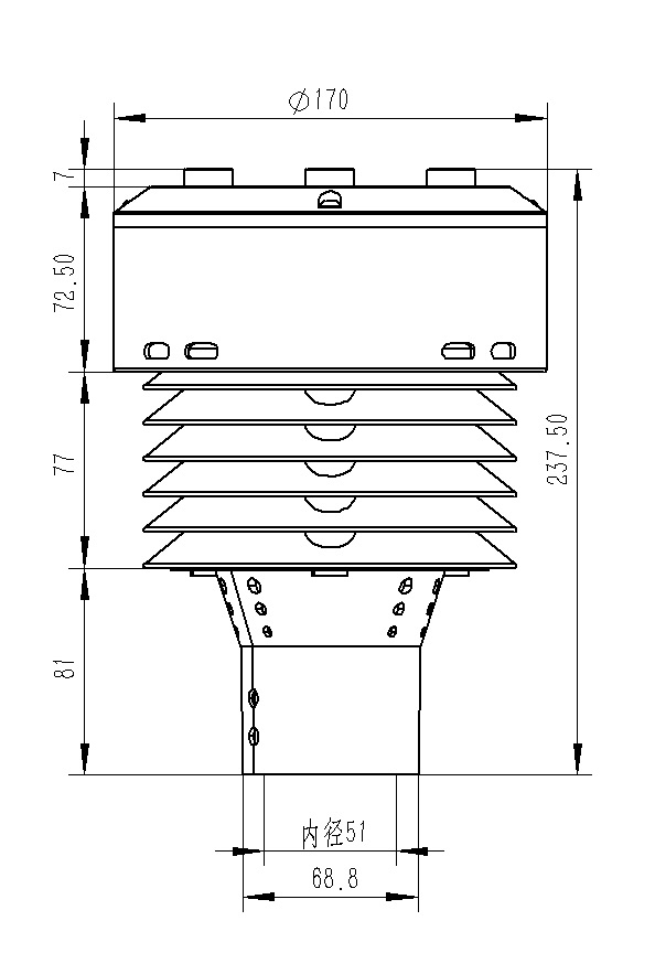
ËÄ¡¢²úÆ·³ß´çͼ

Îå¡¢²úÆ·½á¹¹Í¼

Áù¡¢²úÆ·½ÓÏß½ç˵
½ç˵ | ±¸×¢ | |
VCC | µçÔ´Õý | DC12V |
GND | µçÔ´µØ | |
485A | RS485A | |
485B | RS485B |