88858cc永利官网

网站地图

88858cc永利官网88858cc永利官网

88858cc永利官网—— 专注气象监测装备、水文监测装备、农业四情监测装备 ——

天下效劳热线 15666889209

负氧离子监测站
88858cc永利官网光电科技?? 超声波气象站
专注气象 ? 水文 ? 农业情形仪器
八要素一体式气象站
introduction

八要素一体式气象站

产品型号:JD-CQX8
市场价钱:

产品简介:八要素一体式气象站接纳八要素一体式传感器 ,可对风速、风向、温度、湿度、气压、pm2.5、pm10、噪声等气象要素举行实时视察 ,可实现户外气象参数24小时一连在线监测

相关产品

一、产品简介

  JD-CQX8超声波气象站是一款高度集成、低功耗、可快速装置、便于野外监测使用的高精度自动气象视察装备。

  该装备免调试 ,可快速安排 ,普遍运用于气象、农业、林业、环保、海洋、机场、口岸、科学考察、校园教育等领域。

  与古板的超声波气象站相比 ,我司产品战胜了对高精度计时器的需求 ,阻止了因传感器启动延时、解调电路延时、温度转变而造成的丈量禁绝问题。

     该装备立异性的接纳八要素一体式传感器 ,可对风速、风向、温度、湿度、气压、pm2.5pm10、噪声等气象要素举行实时视察 ,可实现户外气象参数24小时一连在线监测 ,通过数字量通讯接口将八项参数一次性输出给用户。

二、产品特点

1、顶盖隐藏式超声波探头 ,阻止雨雪群集的滋扰 ,阻止自然风遮挡

2、原理为发射一连变频超声波信号 ,通过丈量相对相位来检测风速风向

3、风速、风向、温度、湿度、气压、pm2.5pm10、噪声八要素一体式传感器

4标配GPRS;可选配RJ45、以太网、4-20ma、Lora透传、4G透传、蓝牙、485转USB等多种传输方法

5、两米碳钢支架 ,顶部无需法兰盘可直接套接传感器

6、传感器外壳接纳入口ASA材质 ,更有用对抗盐雾等情形 ,防护品级抵达IP65以上

三、手艺参数

1、风速:丈量原理超声波 ,060m/s(±0.1m/s)区分率0.01m/s;

2、风向:丈量原理超声波 ,0360°(±2°);区分率:1°;

3、空气温度:丈量原理二极管结电压法 ,-40-80℃(±0.3℃) ,区分率0.01℃;

4、空气湿度:丈量原理电容式 ,0-100%RH(±3%RH),区分率:0.1%RH;

5、大气压力:丈量原理压阻式 ,300-1100hpa(±0.25%) ,区分率0.1hpa;

6PM2.5:丈量原理光散射 ,0-1000ug/m3(±10%

7PM10:丈量原理光散射 ,0-1000ug/m3(±10%

8、噪声:丈量原理电容式 ,30-120dB(±1.5dB

9、收罗器供电接口:GX-12-3P插头 ,输入电压5V ,带RS232输出Json数据名堂,收罗器供电:DC5V±0.5V峰值电流1A,

10、传感器modbus485接口:GX-12-4P插头 ,输出供电电压12V/1A,装备设置接口:GX-12-4P插头 ,输入电压5V

11、太阳能供电、设置铅酸电池 ,可选配30W 20AH/50W 40AH/100W 100AH.充电控制器:150W ,MPPT自动功率点跟踪 ,效率提高20%

12、数据上传距离:1分钟-1000分钟可调

137寸安卓触屏 ,屏幕尺寸:1024*600 RGB LCD

14、整机取得国家气象计量站校准证书

16、生产企业具有ISO质量治理系统、情形治理系统和职业康健治理系统认证

18、生产企业为3A级信用企业


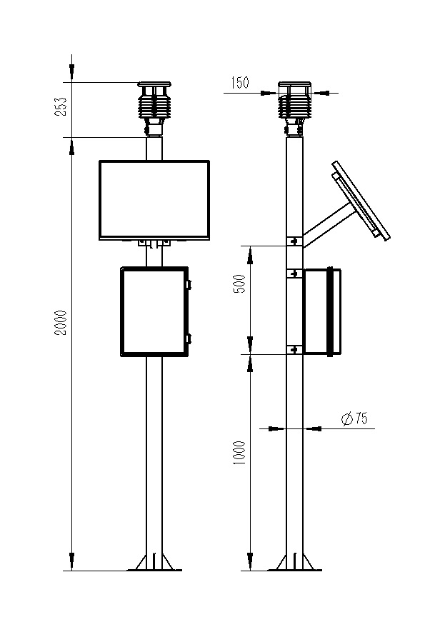
四、产品尺寸图

中国·88858cc永利(股份)官方网站

五、产品结构图

中国·88858cc永利(股份)官方网站

六、上位机软件先容

1PC单机版数据吸收、存储、审查、剖析软件

2、支持串口数据吸收、处置惩罚、展示

3、支持json字符串、modbus485等通讯方法

4、可自设置存储时间 ,modbus485收罗模式下可自设置收罗时间

5、支持自助增添、删除、修改监测参数的协议、名称、图标等

6、支持数据后处置惩罚功效

7、支持外置运行javascript剧本

七、安卓APP先容

1、安卓单机版数据吸收、存储、审查、剖析软件

2、支持蓝牙数据吸收

3、手机休眠后软件后台吸收、处置惩罚

4json数据自动添加装备 ,modbus装备支持扫码添加装备

5、支持历史数据审查、剖析、导出表格 ,支持曲线展示、单数据点审查。

6、支持数据后处置惩罚功效

7、支持外置运行javascript剧本

八、云平台先容

1CS架构软件平台 ,支持手机、PC浏览器直接视察、无需特殊装置软件。

2、支持多帐号、多装备登录

3、支持实时数据展收历史数据展示仪表板

4、云效劳器、云数据存储 ,稳固可靠 ,易于扩展 ,负载平衡。

5、支持短信报警及阈值设置

6、支持地图显示、审查装备信息。

7、支持数据曲线剖析

8、支持数据导出表格形式

9、支持数据转发 ,HJ-212协议 ,TCP转发 ,http协议等。

10、支持数据后处置惩罚功效

11、支持外置运行javascript剧本


【相关推荐】
【网站地图】【sitemap】